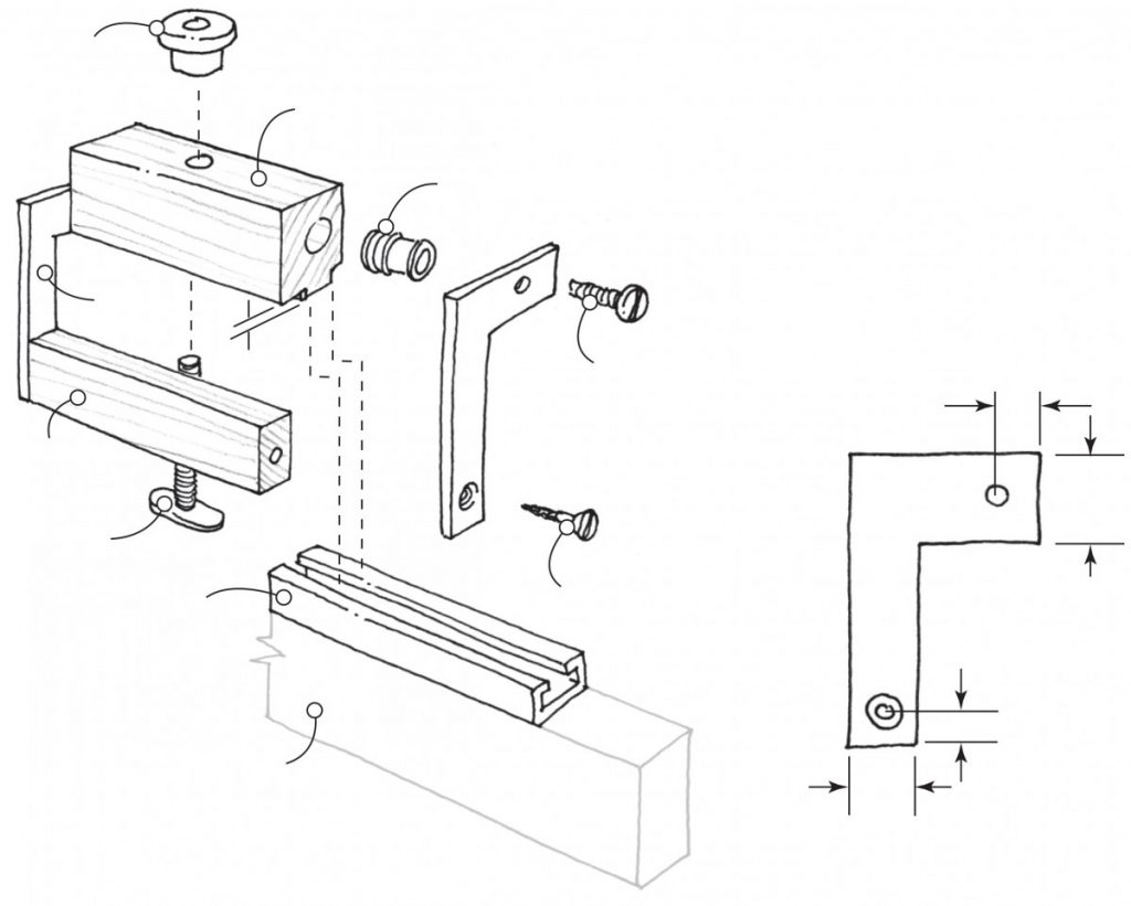
Over the years, I have often clamped stops on my drill-press fence to register hole locations in workpieces. Unfortunately, I always seemed to lose the stops. Flip stops always seemed like a good idea because they stay attached to the …
Shop-made Flip Stop
Over the years, I have often clamped stops on my drill-press fence to register hole locations in workpieces. Unfortunately, I always seemed to lose the stops. Flip stops always seemed like a good idea because they stay attached to the …